
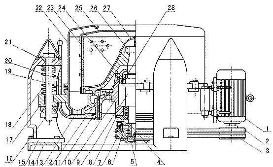
產品特點與用途:[ 型號 SS300-1500 ] SS離心機是利用離心力把懸浮液和乳濁液中的固體和液體組分分離開來的機械,物料在離心力的作用下,將其所含液體經過過濾介質和轉鼓壁上的孔被甩到外殼的內壁上,匯集后由濾液出口排出,而固相則留在轉鼓內,從而完成離心過濾的分離過程。 SS型三足式上部卸料離心機適用于粘度大,親水性強,難分離的含中細度顆粒狀或纖維狀物料的懸浮液的分離,也適用于糊狀、固狀物料分離,廣泛應用于化工、醫藥、紡織和食品脫水。 結構與原理: 電動機通過離合器帶動轉鼓高速旋轉,物料由上部加入轉鼓,在離心力作用下趨向鼓壁,其中液相穿過濾布和鼓壁濾孔排出,固相截留在轉鼓內,停機后人工卸除。 離心機結構圖:


技術參數:

訂貨須知: 針對不同的分離要求,我們設計了相應型式供客戶選擇,因此客戶在訂貨時,可對以下情況作出確認: 驅動方式:普通異步電動機或隔爆型異步電動機等。 機座型式:普通機座或無基礎型機座等。 其它要求。